

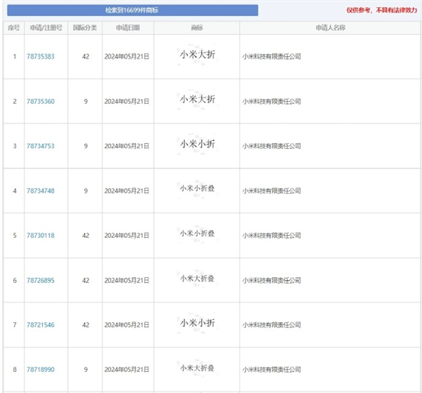
近日,中国商标网的信息显示小米科技有限责任公司已提交了一系列与折叠屏相关的商标申请。这些申请的日期均为2024年5月21日,包括“小米大折”、“小米小折”、“小米小折叠”和“小米大折叠”等。据悉,小米已经入网了全新一代折叠屏旗舰MIX Fold 4,并将搭载高通骁龙8 Gen3处理器。
另外,小米的第一款小折叠MIX Flip也已现身IMEI数据库,预计会在全球上市发售。该设备的A面分为上下两层,上层是双摄模块和双闪光灯,下方是一块大尺寸外屏。这将带来更多的新功能和交互方式,并且适配的第三方软件也将更加丰富。
值得一提的是,小米MIX Flip已经正式入网,并支持67W快充技术。预计这款手机将会很快发布。
小米MIX Fold2 轻薄折叠 骁龙8+旗舰处理器 徕卡光学镜头 自研微水滴形态转轴 5G手机 月光银 12GB+256GB
进入购买
小米MIX Fold2 轻薄折叠 骁龙8+旗舰处理器 徕卡光学镜头 自研微水滴形态转轴 5G手机 月光银 12GB+512GB
进入购买
发表评论 取消回复