1 苹果消灭折痕:折叠屏iPhone终于要来了
随着三星、谷歌等品牌的折叠屏手机已上市多年,科技界一直关注着苹果何时会加入这一市场。根据一篇综合报道,尽管苹果官方仍未发布任何声明,但多项分析师预测和专利信息表明,折叠屏iPhone的推出可能已不再遥远。
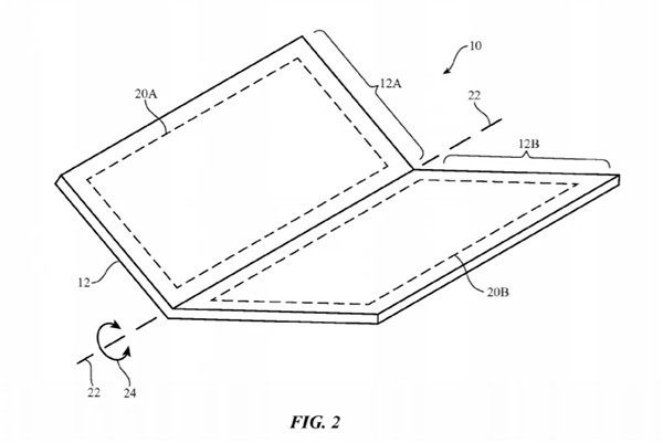
报道指出,一项关键的证据是苹果在2024年7月16日获得的一项专利。这项名为”电子设备与耐用折叠显示屏“的专利最初于2021年11月提交。
专利文件描述了一种保护屏幕的铰链设计:当设备跌落时,显示屏会”围绕弯曲轴轻微折叠“,让设备边缘先着地,从而保护脆性的内屏。这证实了苹果在折叠屏技术上的长期研发。
关于产品形态,目前传闻主要指向两种设计:
书本式折叠:根据知名分析师郭明錤的预测,这类设备可能配备一块7.8英寸的无折痕内屏和一块5.5英寸的外屏。折叠时厚度约为9-9.5毫米,展开后为4.5-4.8毫米。设备可能配备前置摄像头和双后置摄像头。
翻盖式折叠:另有信息称,苹果可能优先开发类似三星Galaxy Z Flip的翻盖式设备,旨在打造比现有iPhone薄一半的机型。郭明錤预测,为了追求轻薄,折叠屏iPhone可能会舍弃Face ID,转而采用集成在侧边按钮的Touch ID进行生物识别。
在价格方面,郭明錤估计折叠屏iPhone的售价将在2000至2500美元之间,与市面上其他高端折叠屏设备持平。他预测其出货量可达300万至500万台。
至于发布时间,各方预测存在分歧:郭明錤曾预测苹果最早可能在2026年底发布一款无折痕的折叠屏设备。然而市场分析机构TrendForce的估计则更为保守,他们认为由于苹果对可靠性和消除屏幕折痕有着严格要求,其折叠屏产品的发布可能会推迟到2027年。
报道回顾,关于折叠屏iPhone的传闻已流传多年,预测的发布日期从2023年一路推迟,因此最终的发布时间仍存在不确定性。
除了手机,报道还提及苹果可能正在开发一款折叠屏iPad。该设备据称将配备约8英寸的显示屏(接近iPad Mini的大小)。由于不需要像手机那样放入口袋,其对耐用性和厚度的要求可能相对宽松一些。
总而言之,虽然万众期待的折叠屏iPhone尚未得到苹果官方确认,但持续的专利活动和分析师报告都强烈预示着苹果正在积极筹备其折叠屏产品线,消费者或许在不久的将来就能看到结果。
2 一图读懂vivo S50:田曦薇代言 2999元起
vivo正式发布全新S系列新品vivo S50,起售价是2999元,由田曦薇代言。
影像上,vivo S50搭载索尼IMX882大底潜望长焦,结合vivo自研原像引擎与大模型画质增强算法,远景、逆光和复杂光线下依然兼顾细节与纯净度。
在此基础上,S50重点打磨“3倍黄金长焦Live”,在3倍视角下适度压缩空间、弱化杂乱背景、突出人物主体,让街拍、旅拍与日常人像更具叙事感。
在Live玩法上,S50带来全新大师级Live运镜,让专业运镜简单化。新增的高光慢动作运镜,可以智能捕捉精彩瞬间并放慢节奏,一键生成超炫酷的主角大片;变焦运镜则通过前后推拉在一次拍摄中完成从人到景的切换。
还有经典的希区柯克运镜,利用视觉差创造出电影级的冲击力,让日常记录也能充满创意大片感,让街拍、旅拍创意十足。
风格方面,S50带来“氛围胶片Live全家桶”,包括假日胶片、暖光胶片等多种风格,更从体验上还原了传奇宝丽来撕拉片效果,将色彩呈现、拉片声效与显影过程一一重现,带来极具仪式感的拍摄体验。
另外,vivo S50支持“Live路人消除”、“Live调音师”和“AI定制美颜”等功能,智能消除路人、灵活调整声音,还有全场景适用的“清透自然人像”,拍出自然美,让人像更通透、更自然、更真实。
配置方面,vivo S50采用6.59英寸屏幕,搭载第三代骁龙8s处理器,前置5000万像素,电池是6500mAh,支持90W闪充。
3 存储价格涨疯了!2026年部分中端机砍掉1TB版本
众所周知,DRAM(动态随机存取存储器)和NAND Flash(闪存存储器)是现代电子系统中主要的两大类存储器产品。
眼下存储行业进入了一个“超级上涨周期”,受AI和云端应用服务的强劲需求影响,DRAM与NAND存储器的缺货深度和持续时间创下20年来最严重纪录。
受此影响最大的是手机行业,尤其是一些中端机型。博主数码闲聊站称,部分厂商将会调整已经上市的中端机型定价,涨幅差不多在100-300元之间,2026年有些中端线新机将会取消1TB版本。
业内人士表示,部分手机品牌厂商已经与存储厂商签订了长期供货协议,会保障供应量,但是价格还是会随着市场进行调整,保量不保价。
另外,TrendForce集邦咨询下修了2026年全球智能手机及笔记本电脑的生产出货预测,从原先的年增0.1%及1.7%,分别调降至年减2%及2.4%。
综合各方反馈,本轮存储上涨周期有望再持续两个季度甚至贯穿明年全年。
4 首款骁龙8E5双潜望旗舰来了!OPPO Find X9 Ultra明年Q1见
从OPPO Find X7 Ultra开始,OPPO超大杯旗舰一直延续双潜望长焦的策略,双潜望已成为OPPO影像旗舰的标签。
对比传统的单潜望镜,双潜望长焦的核心优势在于焦段更全,各类场景适应性更强。
以OPPO Find X8 Ultra为例,该机同时配备3倍潜望中焦和6倍潜望超长焦,拍人像时用3倍,背景虚化自然、肤色还原准;拍远景时用6倍,细节清晰,避免了单潜望镜“一镜走天下” 的尴尬,双潜望焦段分工更明确、更专业。
作为新一代超大杯旗舰,OPPO Find X9 Ultra仍然采用双潜望配置,据博主数码闲聊站爆料,该机配备2亿像素潜望中焦以及5000万像素潜望超广角,同时还有2亿像素主摄、5000万超广角和多光谱镜头。
对比Find X8 Ultra,Find X9 Ultra的主摄和潜望中焦都升级到了2亿像素,其细节解析力会更强,在拍摄近景和远景时能带来更出色的画质表现。
另外,OPPO Find X9 Ultra还将配备多光谱传感器,也就是全新的丹霞原彩镜头,它能对画面进行智能分区计算并识别主体和环境,即便面对复杂的光线条件,也能实现准确的色彩还原。
核心配置上,OPPO Find X9 Ultra配备2K直屏,搭载高通骁龙8E5旗舰平台,是行业内第一款骁龙8E5双潜望旗舰,新品将在明年Q1亮相。
5 高通骁龙4 Gen4/骁龙6s 4G Gen2发布:千元机新搭档来了
高通悄然推出两款全新手机芯片——骁龙6s 4G Gen2与骁龙4 Gen4。这两款芯片均面向中低端智能手机市场,预计将于2026年正式商用。
先来说说骁龙4 Gen4,这颗处理器集成高通Kryo CPU,主频最高为2.3GHz,集成Adreno GPU,支持FHD+分辨率以及120Hz刷新率。影像方面,骁龙4 Gen4支持1.08亿像素摄像头以及多摄同拍功能。
值得一提的是,相较前代骁龙4 Gen3,骁龙4 Gen4芯片搭载硬件级多帧降噪技术,能降低噪点对样张的影响。
另外,和骁龙4 Gen3一样,骁龙4 Gen4也支持5G连接,支持高通QC4+快充协议,仅需15分钟就能将手机电量从0充至50%。
最后说说骁龙6s 4G Gen2,这是一款4G处理器,不支持5W网络,主要面向2026年的入门级智能手机。
规格方面,骁龙6s 4G Gen2同样采用Kryo CPU与Adreno GPU,CPU主频最高为2.9GHz,支持FHD+分辨率以及120Hz刷新率,支持AI智能语音助手。
影像方面,骁龙6s 4G Gen2最高支持1.08亿像素摄像头。
发表评论 取消回复